Некоторые автопроизводители, инвестирующие в двигатели внутреннего сгорания, рекламируют водород как будущее, в то время как другие, такие как Porsche, настаивают на том, что синтетическое топливо — это путь. Но Porsche только что изменил правила игры, запатентовав двигатель внутреннего сгораниякоторый может работать на бензине, дизельном топливе или водороде и, что, возможно, более важно, производить собственное водородное топливо.
Если эта концепция кажется безумной, то это потому, что она действительно такова. Но что еще интересно, у Porsche нет абсолютно никаких планов по использованию рассматриваемого двигателя полностью на водороде. В патенте подробно описано, как самозарядная система сгорания водорода могут спасти двигатели внутреннего сгорания, нейтрализовав их старого врага: выбросы при запуске.
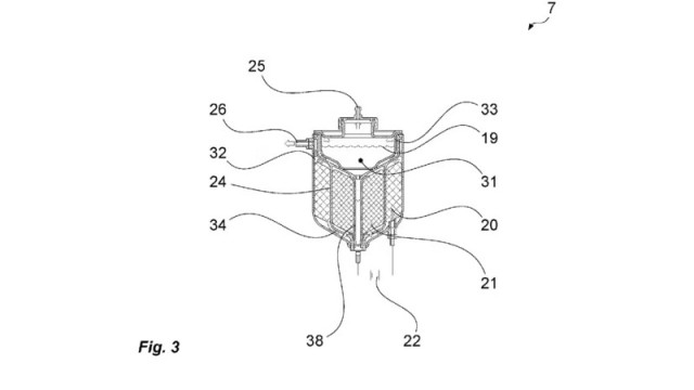
И, пожалуй, самый безумный элемент запроса — эточто система будет использовать бачок с жидкостью стеклоочистителя как источник этого водорода.
Превращение стеклоочистительной жидкости в топливо
По сути, проблема, которую Porsche пытается решить, заключается в том, что каталитические нейтрализаторы не достигают полной эффективности, пока не прогреются. Водород мог бы стать способом их предварительного нагрева, а затем поддержание температуры во время движения.

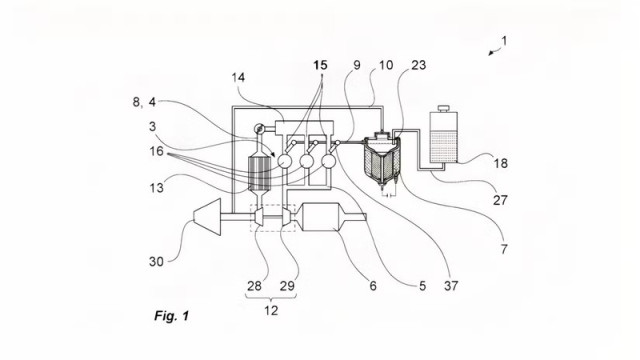
Для этого Porsche потребуется наличие в автомобиле генератора водорода. который забирает воду и превращает ее в полезный газ. Это не новая идея, поскольку существуют комплекты для добавления водорода в системы автомобиля, которые, как утверждается, улучшают экономию топлива, помогая добиться полного сгорания в камерах сгорания в условиях низкого крутящего момента.
Однако подход Porsche, похоже, заключается в том, чтобы впрыскивать его непосредственно в двигатель и использовать для этой работы хотя бы один цилиндр. Целью является нагрев каталитического нейтрализатора до оптимальной температуры с помощью особенно горячих выхлопных газов. Порше особо упоминает «аппарат для электролиза Гофмана». (также известный как вольтаметр Гофмана), который является одним из простейших способов проведения электролиза воды до водорода и восходит к 1866 году.

Porsche даже упоминает идею управляемого автомобилем «водородного режима», который предсказывает, когда автомобиль заведется, или сразу запускает двигатель в этом режиме. В патенте также говорится о размещении впускного отверстия для водорода после турбокомпрессора и использовании впускного отверстия, специфичного для каждого цилиндра. во избежание «нежелательного возгорания».
Это довольно сложная юридическая терминология, которая в основном сводится к следующему: хранить стабильную воду вместо потенциально летучего водорода, превращать ее в газообразный водород, когда это необходимо, и впрыскиваем непосредственно в цилиндрчтобы убедиться, что он не взорвется во впускном коллекторе. Водород, хотя и горюч, не обязательно является идеальным источником топлива для двигателя внутреннего сгорания и склонен к преждевременной детонации.
Закончилась жидкость стеклоочистителя
Вместо использования отдельного контейнера для воды, необходимой для электролиза до водорода, Porsche предлагает использовать бачок для жидкости стеклоочистителя. Очевидная проблема здесь в том, что многие используют специальные жидкости, а в местах с морозами необходимо не допускать превращения жидкости стеклоочистителей в лед. Porsche не упоминает о жидкостной системе подогрева. Но это дает нам представление о том, как мало водорода может понадобиться для достижения желаемого эффекта.

Это не то, чего мы ожидаем от Porsche, но это, безусловно, имеет смысл, когда речь идет о продлении срока службы мощных двигателей внутреннего сгорания в условиях неуклонного ужесточения экологических норм. Водород понадобится только пока катализатор не достигнет оптимальной температуры.
Это означает, что добавленное оборудование будет минимальным, а метод с Аппарат электролиза Гофмана не сложен. Хотя, если бы кто-то и мог его усложнить и как-то улучшить в процессе, то это был бы Porsche.



