Двигатели с осевым магнитным потоком все еще являются молодой технологией, но они быстро становятся выбором для некоторых высокопроизводительных гибридных систем. Благодаря минимальному весу, компактному дизайну и впечатляющей мощности такие компании, как Ferrari и Lamborghini уже интегрировали их в некоторые из своих последних дорожных автомобилей..
Porsche, очевидно, станет следующим производителем, сделавшим ставку на эту технологию. Согласно патенту, поданному во Всемирную организацию интеллектуальной собственности (WIPO), компания разрабатывает гибридную трансмиссию, сочетающую в себе меньшие и легкие осевые двигатели. компании Яса с двигателем внутреннего сгорания.
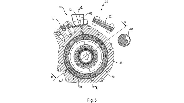
Концепция кажется довольно простой. Вместо установки относительно громоздкого традиционного радиального двигателя в корпус коробки передач PDK, как это сейчас делает Porsche на 911 Carrera GTS, тонкий дисковый осевой поток будет находиться между двигателем и трансмиссиейрасположенный внутри двухмассового маховика.

Электродвигатель и двигатель внутреннего сгорания будут работать вместе через коробку передач с двойным сцеплением. Благодаря ультратонкой конструкции мотора – 7,8 см, это не увеличит общую длину трансмиссии. Это означает, что двигатель и электродвигатель должны оставаться за водителем без каких-либо существенных компромиссов.
В патенте указано, что система будет включать двигатель, расположенный либо посередине, либо сзади. Двигатель необходимо будет установить продольно, в сочетании с поперечной коробкой передач с двойным сцеплением. Нет указаний на то, может ли эта установка работать с механической коробкой передач.

Далее указано, что конфигурация выделяет меньше тепла. В сочетании с негерметичной камерой, как описано в патенте, и электродвигатель, и двигатель внутреннего сгорания должны получать достаточное охлаждение.
Большой вопрос: сколько энергии на самом деле может производить эта гибридная система? Компактные двигатели Yasa развивают достаточный крутящий момент; компания может похвастаться более чем 470 лошадиными силами и 800 Нм крутящего момента на самых мощных настройках. Гибрид Ferrari SF90 использует три двигателя Yasa общей мощностью 217 л.с., тогда как сдвоенные двигатели в Lamborghini Revuel производят чуть менее 296 л.с. Однако обе системы работают в паре с мощными двигателями V8 и V12, мощность каждого автомобиля составляет чуть более 1000 л.с.

Если Porsche использует эту технологию в автомобиле будущегорезультаты могут быть странными. Нынешний электродвигатель 911 Carrera GTS выдает примерно 54 л.с. и 150 Нм крутящего момента, что соответствует общей мощности системы 532 л.с. и 609 Нм в паре с 6-цилиндровым оппозитным двигателем.
Если Porsche объединит новый осевой двигатель с версией своего 3,6-литрового двигателя с турбонаддувом, что вполне вероятно,комбинированная мощность потенциально может превышать 800 или 900 лошадиных сил, в зависимости от приложения.



