Bentley прощается со своим культовым двигателем W12 в июле 2024 года. закрывая легендарную главу в своей истории, охватывающей два десятилетия. Однако, как только заканчивается одна история, начинается другая: Porsche разрабатывает новую версию собственного двигателя Takam.
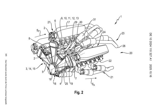
Немецкий производитель подал заявку на этот патент еще в прошлом году, но только сейчас становится понятно, что это такое. Это сложный W12 с тремя отдельными рядами цилиндров. На первый взгляд в статье не вдается много подробностей, но отмечается, что «цилиндры ДВС расположены W-образно».
Конструкция двигателя компактна, многослойна и спроектирована с учетом тепловой эффективности. Что выделяется, так это то, как описана система впуска. Инженеры Porsche расположили камеру циркуляции воздуха прямо над головками цилиндров. обеспечивая прямой путь воздушного потока с почти вертикальным падением в камеры сгорания. Это означает меньше тепла, уменьшенное расстояние перемещения всасываемого воздуха и более чистое отделение от выпускных клапанов.

Самое интересное в этом случае то, что В корпусе двигателя остается место для двух или трех турбонагнетателей. Это было бы огромным преимуществом перед старым 6,0-литровым двигателем W12 с двойным турбонаддувом, которым оснащались самые известные модели Bentley. В последней версии – лимитированной версии Mulliner Batur двигатель развивает мощность 750 л.с. и 1000 Нм.
Однако следует уточнить, что в данном случае речь идет о патенте, а не о готовой разработке. Однако это означает, что Концерн Volkswagen не отказался от двигателей W-конфигурации и продолжает работать над их развитием. Реальный вопрос заключается в том, станет ли это чем-то, что мы увидим в будущих серийных моделях или гоночных автомобилях.

Такая возможность оставляет много места для спекуляций, одно из самых интересных состоит в том, что это может быть новый двигатель Bugatti – тем не менее, Porsche по-прежнему владеет значительной долей французского производителя.



