Немало людей считают, что китайские автомобили уже превосходят европейские. Это, безусловно, факт, когда речь идет об экзотических автомобильных дополнениях. Последний из них, зарегистрированный в качестве патента компанией Seres Group,… туалет встроен в пассажирское сиденье на машине. И не обычный унитаз, а с голосовым управлением.
«Для нужд клиентов в дальних поездках»
Эта функция предназначена для «удовлетворения потребностей пользователей в туалете в длительных поездках, во время кемпинга или в машине», — написали инженеры в патентной заявке Seres, поданной в Китае 10 апреля.
Это Серес производитель популярного бренда DFSK в Болгарии. Ее штаб-квартира находится в городе Чунцин на юго-западе Китая. Однако пока компания не объявила, в каких моделях она в конечном итоге внедрит это нововведение. Болгарскому уху сочетание имени производителя и характера изобретения намекает на первоапрельскую шутку, но на самом деле запрос вполне реален.

Предназначена для китайского рынка модель Aito, дочернего бренда Seres, который также присутствует в нашей стране через другой бренд — DFSK.
Жесткая конкуренция в Китае приводит к караоке и фенам в машинах
Все более жесткая конкуренция на сильно субсидируемом китайском рынке вынуждает местные компании делать ставку на беспрецедентные дополнительные удобства – не только привычные европейцам вещи вроде массажных сидений или холодильников, но и караоке-системы, встроенные фены и всякие другие странности.
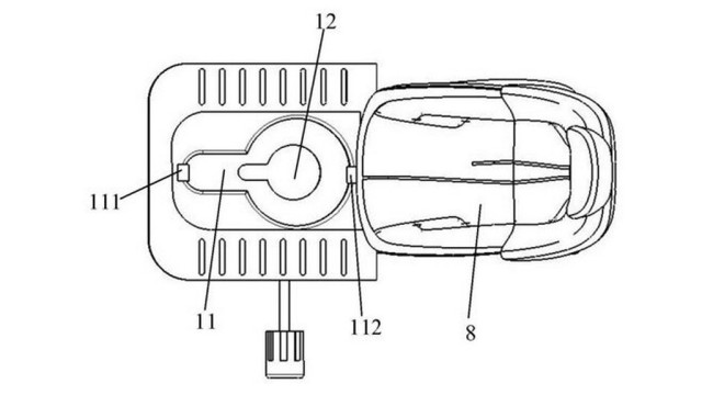
Бортовой туалет Seres выдвигается из-под пассажирского сиденья нажатием или с помощью голосовых команд.
Он будет оснащен вентилятором и «выхлопной трубой».
Согласно документам, поданным в Управление интеллектуальной собственности Китая, с которыми ознакомилась BBC, туалет будет оборудован вентилятором и выхлопной трубой для выведения запахов за пределы автомобиля.
Отходы собираются в баке, который приходится опорожнять вручную — примерно так же, как это делается в более роскошных кемперах. В туалете тоже есть вращающийся нагревательный элемент, испаряющий мочу и сушит другие отходы.

Когда унитаз не используется, он спрятан под сиденьем и не занимает лишнего внутреннего пространства.
Это не первый туалет в легковом автомобиле – пионером является… Rolls-Royce
Однако историкам автомобилестроения удалось найти доказательства того, что подобный внутриавтомобильный туалет предлагался и раньше – еще в 1950-х годах в качестве опции для специальной версии Rolls-Royce Silver Wraith.
В Китае компания Seres наиболее известна своим новым брендом электромобилей Aito. Это одна из немногих китайских компаний, получивших прибыль в прошлом году.
7 самых абсурдных автомобильных дополнений (ГАЛЕРЕЯ):
1 из 7 | 7 самых абсурдных автомобильных дополнений

Эспрессо-машина



