Toyota не только не теряет веры в водород, но и продолжает развивать эти технологии по двум направлениям — в качестве топливных элементов и двигателей внутреннего сгорания. Доказательством является новый патент во второй области, заявленный компанией.
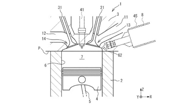
На патентных рисунках Toyota изображен цилиндр, очень похожий на тот, который можно найти в любом бензиновом двигателе внутреннего сгорания. Он имеет поршень, который движется вверх и вниз, четыре клапана, разделенные на впускной и выпускной, и свечу зажигания. Как и в любом двигателе с непосредственным впрыском топлива, здесь имеется топливная форсунка. В патенте основное внимание уделяется инжектору и тому, как благодаря чему Toyota интегрировала его туда.
Водородная форсунка очень похожа на бензиновую форсунку прямого впрыска, но в отличие от нее форсунка H2 не подает топливо в камеру сгорания. Вместо этого он проталкивает газообразный водород через небольшое отверстие в головке блока цилиндров. Toyota делает ставку на легкое смешивание газообразного водорода с воздухом, поэтому они не нужны. тонкие распылительные форсунки в камере сгорания, как в бензиновом двигателе.
Для поддержания давления водорода и сгорания внутри требуется серьезная герметизация, поэтому Toyota использует несколько прокладок и уплотнительных колец, чтобы изолировать все. Эти уплотнения требуют смазки при установке, и именно эта смазка оказалась проблемой. Патент описывает решение Toyota.
Большинство смазочных материалов огнеопасны, особенно если они находятся в двигателе.
В патенте Toyota предлагает использовать диметикон. Это силиконовый полимер, который используется в огромном ассортименте повседневных товаров: от контактных линз до продуктов питания. Он нетоксичен, негорючий и отлично подойдет для этого применения.. При высоких температурах он течет, как медь, но при более низких температурах он больше похож на твердое вещество. Идеально подходит для использования при установке инжектора. Его также часто используют в качестве промышленной смазки.
Toyota не остановится, пока не сделает водород реальностью
На протяжении десятилетий Toyota полностью делала ставку на водород как альтернативный источник топлива. Все началось, как и у многих других автопроизводителей, включая GM и Hyundai, с использования топлива для выработки электроэнергии в топливном элементе. С тех пор Toyota предприняла множество попыток сжечь водород. непосредственно в двигатель внутреннего сгорания. Цель состоит в том, чтобы использовать его в качестве заменителя бензина.
Поскольку водород при сжигании на воздухе не содержит углерода, в результате получается вода. При этом отсутствуют выбросы CO2. Однако он производит оксиды азота, что по-прежнему является серьезной проблемой загрязнения воздуха. Компания работает о снижении температуры горениячто снижает эти выбросы, но также может снизить эффективность. Если водород изначально производится из экологически чистой энергии, то эффективность является меньшей проблемой, чем выбросы.
До массового внедрения сжигания водорода может пройти целое десятилетие, но Toyota продолжает его тестировать. Японский автопроизводитель подержанные автомобили с горением H2в гонке на выносливость «24 часа Фудзи». Компания также планирует выставить такую машину в Ле-Мане в 2028 году.



